




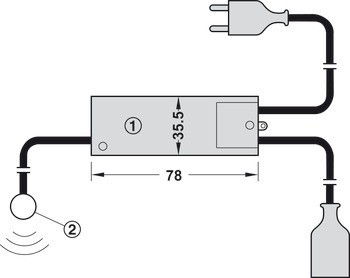
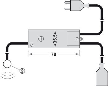
1 spínací jednotka s dveřním senzorovým spínačem, 1,8m napájecí kabel s plochou Euro vidlicí, 0,5m připojovací kabel s plochou Euro zásuvkou a 2m kabelem senzoru1 tělo senzoru

| Barva/povrchová úprava | | Tělo spínače: bílésenzor: černýTělo senzoru: barva stříbra |
|---|---|
| Rozsah použití | | Pro osvětlení interiéru skříňkyPro spínání zařízení s třídou bezpečnosti II, jako jsou transformátory, konvertory a svítidla |
| Montáž | | K přišroubování |
| Materiál | | Plast |
| Typ produktu | | Dveřní senzorový spínač |
| Barva | | Tělo spínače: bílésenzor: černýTělo senzoru: barva stříbra |
| Spínací kapacita | | 150,00 W |
| Dosah senzoru | | 5 – 50 mm |