




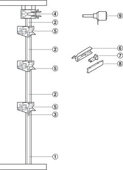
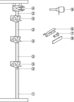
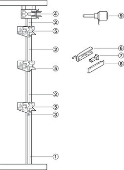
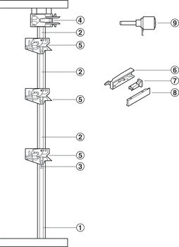
1 vana zámku
1 čelní díl vany zámku
1 krytka pro vanu zámku




| Barva/povrchová úprava | | Bílo-šedá | Matná terra, černá | Matná šedá Orion | Matná hedvábná bílá |
|---|---|
| Rozsah použití | Pro systémy zásuvkových výsuvů s bočnicí a dřevěné zásuvky |
| Materiál | Ocel, plast |