




1 držák skříňky
2 krytky




| Verze | | S krátkou základní deskou | S dlouhou základní deskou |
|---|---|
| Rozsah použití | Pro nástěnnou jednotku |
| Montáž | | Levá | Pravá |
| Norma | | Nosnost držáku skříňky s krátkou základní deskou je 65 kg na kus v souladu s požadavky normy DIN EN 15939. | Nosnost držáku skříňky je s dlouhou základní deskou 92 kg na kus v souladu s požadavky normy DIN EN 15939. |
| Materiál | Plast|Ocel |
| Barva/povrchová úprava | Krémově bílá, RAL 9001, Zinek |
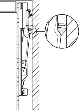
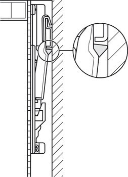
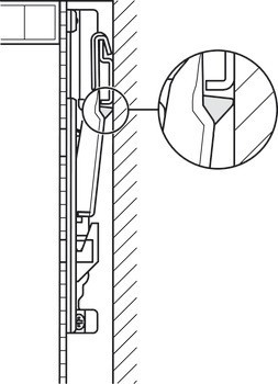
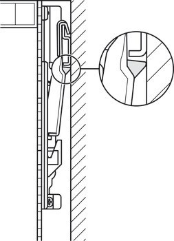
| Poznámka k montáži | Z bezpečnostních důvodů musí být krátká základní deska upevněna v horní třetině skříňky.Pojistný(é) šroub(y) zašroubujte v úhlu 45°.Před zavěšením zcela vytáhněte podpěrné rameno.U verze s dlouhou základní deskou musí být držák přišroubován rovněž k hornímu panelu; výsledkem je vyšší nosnost. |
| Zařízení pro nastavení | Side adjustment 16 mm, Height adjustment 15 mm, Depth adjustment 16 mm, nastavení výšky a hloubky přes otvory Ø 12 mm |
| Verze produktu | | Základní deska: krátkás pojistkou proti vyklopeníNení viditelné uvnitř korpusu | Základní deska: dlouhás pojistkou proti vyklopeníNení viditelné uvnitř korpusu |
| Nosnost | | 65,00 kg | 92,00 kg | 92.00 kg |
| Montáž | | Pravé | Levé |
| Nosnost na jeden pár | 130,00 kg | 130.00 kg |
| Další mechanismus nastavení | nastavení výšky a hloubky přes otvory Ø 12 mm |