









| Rozsah použití | Otočné dveře ze dřeva nebo kovu, pro vnitřní použití |
|---|---|
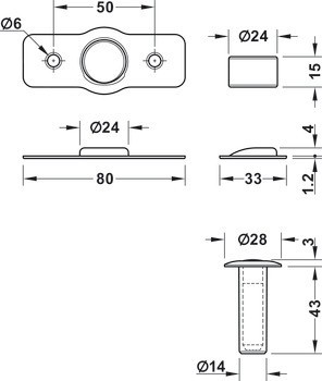
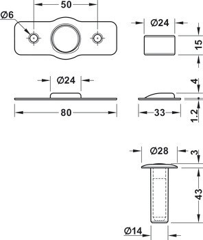
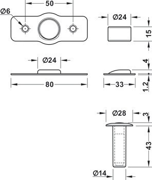
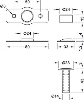
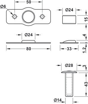
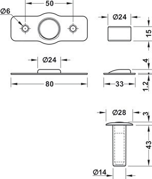
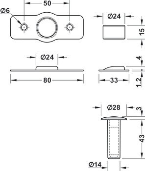
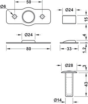
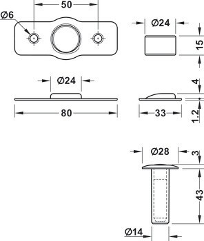
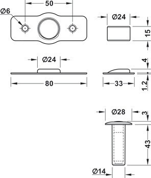
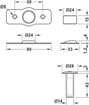
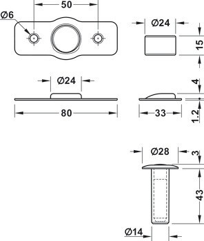
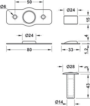
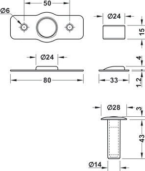
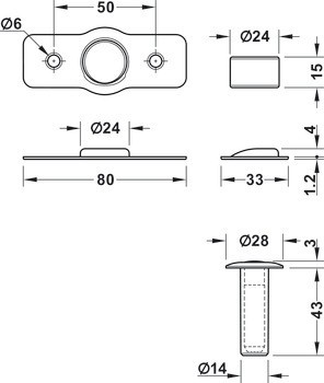
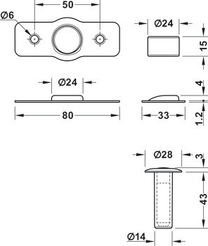
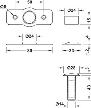
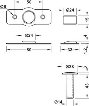
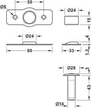
| Montáž | Pouzdro do podlahy: pro zápustnou montáž do podlahyprotikus a magnet: pro zápustnou montáž do dveřního křídla |
| Materiál | Plast, Ocel, Neodym |
| Barva/povrchová úprava | | Bílá | Průhledné | Černý | mosaz | chrom, leštěné | chrom, kartáčováno |