









| Verze | Šikmé podpěry (45°) |
|---|---|
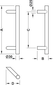
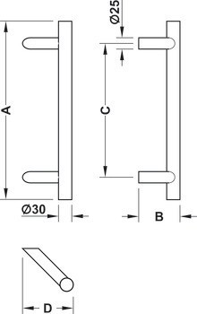
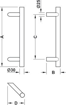
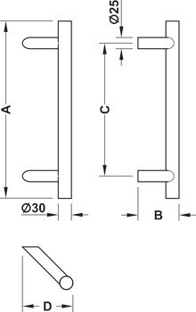
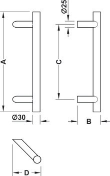
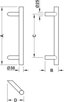
| Délka | | 300,00 mm | 400,00 mm | 1.000,00 mm | 600,00 mm | 800,00 mm | 1,200.00 mm | 1.800,00 mm | 1.600,0 mm |
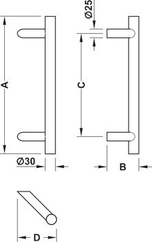
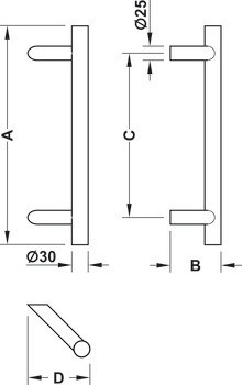
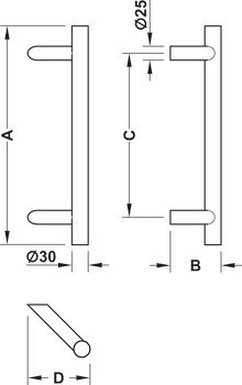
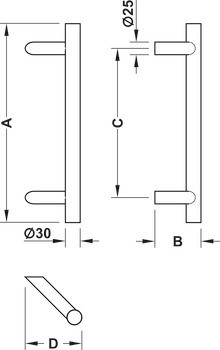
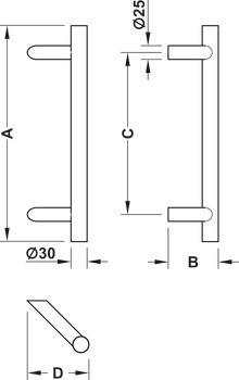
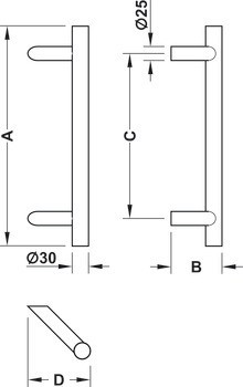
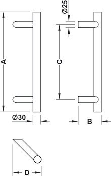
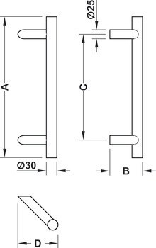
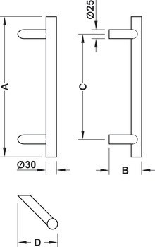
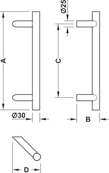
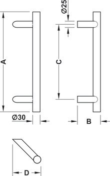
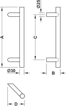
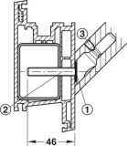
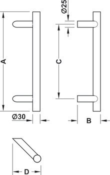
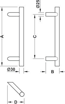
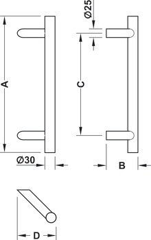
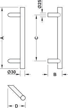
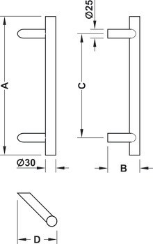
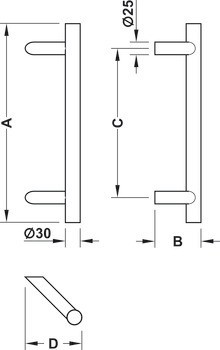
| Průměr | 30,00 mm | 30.00 mm | 30,0 mm |
| Materiál | Nerez |
| Barva/povrchová úprava | matný |
| Výška | 85,00 mm | 85.00 mm | 85,0 mm |
| Šířka | 100,00 mm | 100.00 mm | 100,0 mm |
| Model | PH 1122 |
| Rozteč otvorů | | 300,00 mm | 400,00 mm | 200,00 mm | 600,00 mm | 800,00 mm | 1,000.00 mm | 1.600,00 mm | 1.400,0 mm |
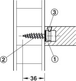
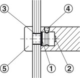
| Pro tvar příruby | šikmé (45°) |