




Kompletní dveřní zavírač s montážním ramenem

| Verze | Optická indikace zavírací sílyVšechny funkce lze nastavit zepředuSe standardním ramenem |
|---|---|
| Barva/povrchová úprava | lakováno |
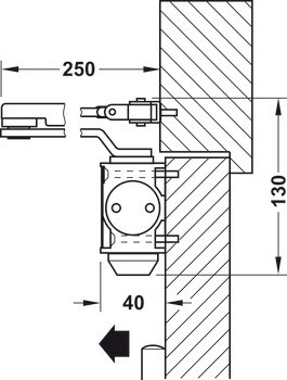
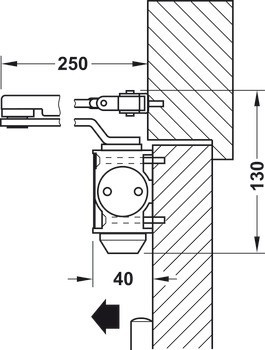
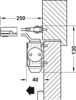
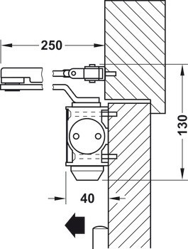
| Montáž | Pro použití na DIN levé a DIN pravé straně |
| Úhel otevření | ≤180 ° |
| Pro šířku dveří | ≤1,100 mm |
| Norma | Certifikováno v souladu s EN 1154:1996/A1:2002 |
| Třída | 4|8|2 – 4|1|1|3 |
| Pro počet dveří | 1křídlé dveře |
| Zavírací síla | 2–4 v souladu s EN 1154 |
| Způsob montáže | Standardní montáž (montáž dveřního křídla) na straně závěsů, Horní montáž (upevnění na nosník) na opačné straně závěsů |
| Úhel aretace v otevřené poloze | ≤145 ° |