




1 klopna s tažným lankem s čelním kováním
Montážní materiál





| Verze | S tažným lankem |
|---|---|
| Rozsah použití | pro dřevěné výklopy |
| Montáž | K přišroubování pomocí eurošroubů |
| Materiál | Plast |
| Model | | A, 40 N | B, 60 N | C, 100 N | D, 140 N |
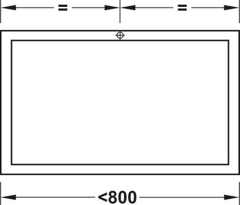
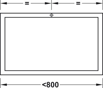
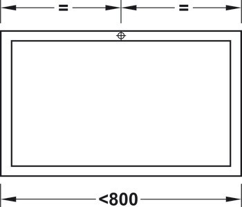
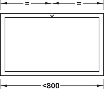
| Rozměry | pro vodorovné použití: 26 x 68 x 160 mm (Š x V x D) |
| Barva krytu | | Krytka: černá | Krytka: šedá | Krytka: bílá | Krytka: hnědá |
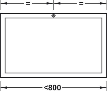
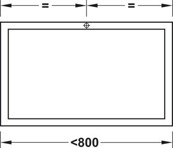
| Pro hmotnost víka | ≤9 kg, zohledněte ukázkové hodnoty z tabulky |
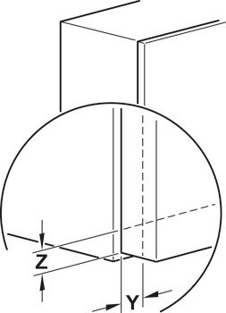
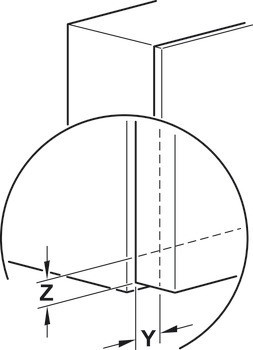
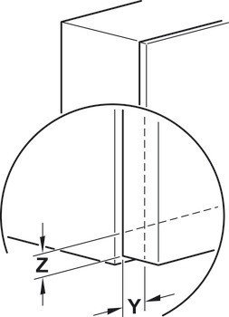
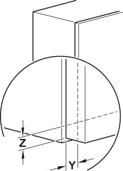
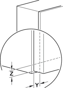
| Pro výšku korpusu | 210–480 mm |
| Materiál víka | Dřevo |
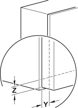
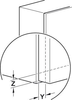
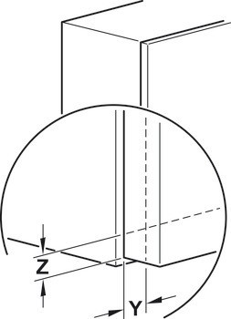
| Pro hloubku korpusu | ≥82 mm |
| Barva/povrchová úprava | Čelní kování: nikl |
| Montáž | použití na pravé a levé straně |