




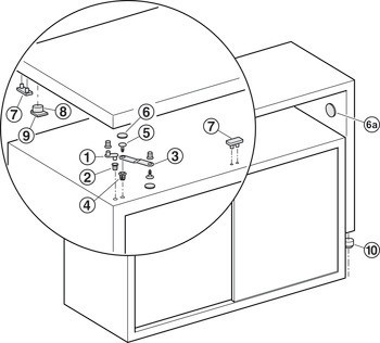
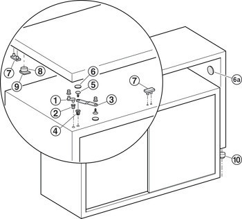
1 krátká páčka
2 upevňovací hmoždinky
1 spojovací plech
2 pouzdra
2 podpěrné šrouby
2 lepicí body pro filc
4 lepicí body pro filc
2 desky
1 měkké kolečko
1 distanční kroužek
2 kolečka

| Materiál | |
|---|---|
| Rozměry | tloušťka panelu: horní panel: ≥25 mm, boční panel: ≥28 mm |
| Šířka | ≤1,200 mm |
| Hloubka | ≤600 mm |