




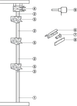
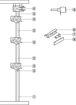
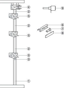
1 zamykací tyč
1 distanční díl k zaříznutí na míru
1 koncový díl
1 držák zámku
1 vrtací šablona pro koncový díl



| Rozsah použití | Pro systémy zásuvkových výsuvů s bočnicí a dřevěné zásuvky |
|---|---|
| Montáž | Řez zamykací tyče: vnitřní výška – 2 mm |
| Materiál | Ocel, plast |