




1 pár bočnic zásuvky
1 pár korpusových lišt
1 sada čelního kování





| Verze | S kolečkovými výsuvy |
|---|---|
| Barva/povrchová úprava | Čistě bílá, RAL 9010, Prášková barva, Prášková barva |
| Rozsah použití | Pro zásuvky a výsuvy |
| Montáž | K přišroubování |
| Materiál | Ocel |
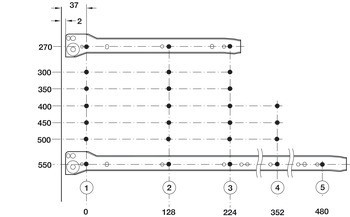
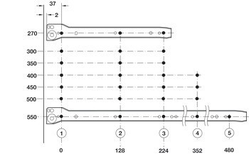
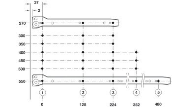
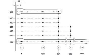
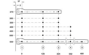
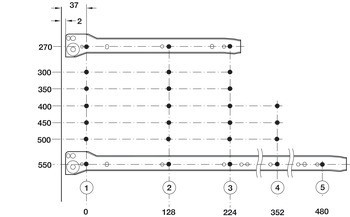
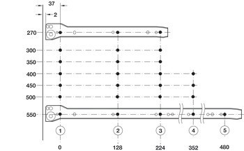
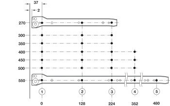
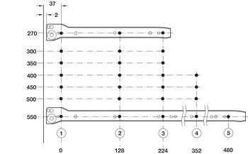
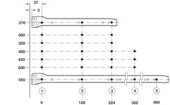
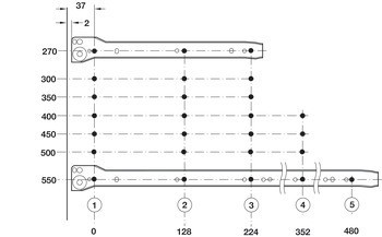
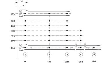
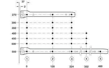
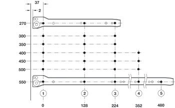
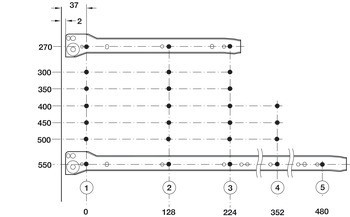
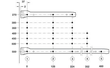
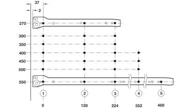
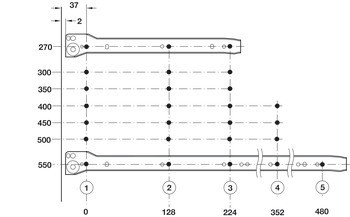
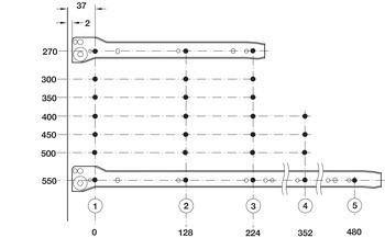
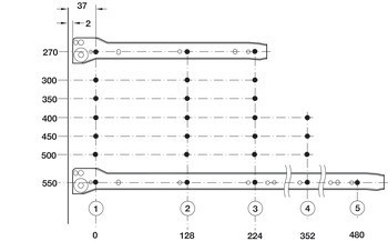
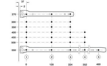
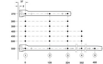
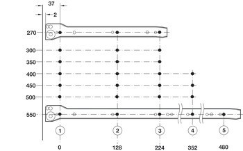
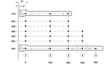
| Výška | 118,00 mm | 118.00 mm |
| Pro řadu vrtaných otvorů | Systém 32 |
| Nosnost na jeden pár | 25,00 kg | 25.00 kg |
| Výsuvná délka | | 460,00 mm | 374,00 mm | 204,00 mm | 234,00 mm | 284,00 mm | 417,00 mm | 334.00 mm | 482.00 mm |
| Nevysunutá délka | | 90,00 mm | 76,00 mm | 83,00 mm | 66,00 mm | 118.00 mm | 66.00 mm |
| Jmenovitá délka | | 300,00 mm | 500,00 mm | 450,00 mm | 270,00 mm | 600.00 mm | 350,00 mm | 550,00 mm | 400.00 mm |
| Comfort functions | Samozavírací |
| Způsob vysunutí | Částečný výsuv s mechanismem dotahu |
| Čelní kování | k přišroubování |