




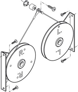
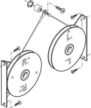
1 pár koleček s pružinou
2 lanka s upevňovacími oky
1 sada upevňovacího materiálu
1 montážní návod

| Barva/povrchová úprava | | Kování: Pozink, boční kolečka: Černá |
|---|---|
| Rozsah použití | Roletky pohybující se po zadním panelu ve svislém směru posuvu |
| Materiál | | Plast |
| Vhodné pro | |
| Poznámka k montáži | | Montážní poloha závisí na velikosti roletkového pancíře.Postupujte podle montážního návodu.Lanka musí být instalována ve středu spodní hrany roletky. |
| Pro šířku roletkového pancíře | | 216 – 1,000 mm |
| Hmotnost roletkového pancíře | ≤6 kg |
| Pro délku roletkového pancíře | | ≤1,800 mm |
| Délka kabelu | | 1.600,00 mm |