






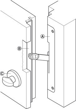
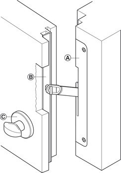
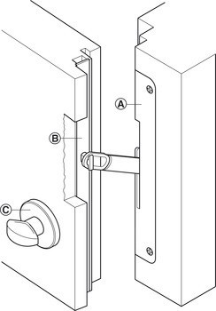
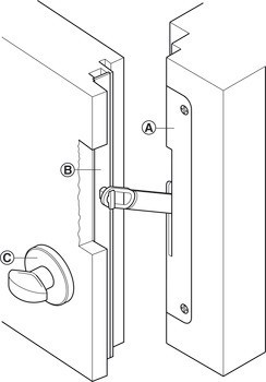
| Verze | Se zajišťovacím plechem, viditelné |
|---|---|
| Barva/povrchová úprava | | ferGUard*stříbrná, ferGUard*stříbrná |
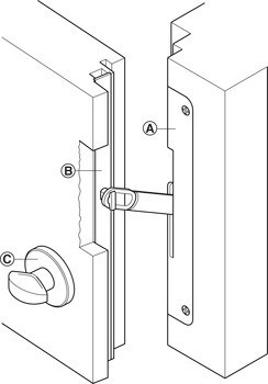
| Rozsah použití | Pro vícebodové zámky Secury s bezpečnostní záskočkoupro falcové dřevěné dveře |
| Materiál | Ocel |
| Montáž | | DIN levý | DIN pravý |
| Mezera ve falcu | 4,00 mm |
| Pro čelní plech | 20 |